
概述:
1、R系列硬齿面斜齿轮减速机经过精密加工,确保轴平行度和定位轴承要求,形成斜齿轮传动总成的减速机配置了各种类电机,组合成机电一体化,完全保证了减速电机产品使用质量属性。
2、减速机振动小,噪音低,节能高;
3、节省空间,可靠耐用,承受过载能力高。
4、能耗低,性能优越,斜齿轮减速机效率高达95%以上;
5、R系列硬齿面斜齿轮减速机结合国际技术要求制造,具有很高的科技含量通用性强,可靠性高,硬齿面传动,磨齿加工。硬齿面斜齿轮减速机热交换性能好,承载力高,可以和本公司其他系列减速机组合实现低速传动。
6、斜齿轮减速电机选用优质锻钢材料,钢性铸铁箱体,齿轮表面经过高频热处理;
| 功 率: | 0.12~160kW |
|---|---|
| 扭 矩: | 130~18000N.m |
| 传动比: | 5~264,imax:18125 |
| 备 注: | 可底脚、法兰安装可配各类电机或双轴型 |
详细内容:
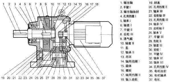
1. 特点:小偏置输出,结构紧凑,最大限度利用 箱体空间、采用整体式铸造箱体,刚度好, 可以提高轴的强度和轴承寿命。
2. 安装型式和输出方式:底坐式和大小法兰式安装,实心轴输出。
3. 输入方式:直联电机,轴输入和联接法兰输入。
4. 减速比:二级5~24.8、三级27.2~264、 R/R组合可达18125。
5. 平均效率:二级96%、三级94%、R/R 组合85%。
6. 专为搅拌设计的R系列能承载较大的轴向 力和径向力。
订货须知:
一、①R系列硬齿面斜齿轮减速机产品名称与型号是否带附件以便我们的为您正确选型。
二、若已经由设计单位选定公司的R系列硬齿面斜齿轮减速机型号,请按斜齿轮减速机型号直接向我司销售部订购。
三、当使用的场合非常重要或环境比较复杂时,请您尽量提供设计图纸和详细参数,由我们为您审核把关。
感谢您访问我们的网站【http://www.objectivedatastorage.com】,如有任何疑问.您可以致电给我们,我们一定会尽心尽力为您提供优质的服务。















